今までなかった樹脂のチャンネルが新発売!
これまでは樹脂管の施工に金属製のチャンネル部材が使用されてきましたが、現場での電動工具による切断作業や、切断時のバリ取り、切断箇所への保護キャップの取付け、金属の防錆処理が必要なことから、施工の安全性と省力化が求められていました。
樹脂製チャンネル部材“プラチャン”は、軽量で錆びないDCクリップ専用の施工部材であり、プラフレキタフストなどの弊社製PF管と組み合わせて使うことで、色調や外観、仕様の統一ができ、簡単かつ安全な施工が可能となります。さらに塩害が想定される地区や、短期間施工が必要な工事など、防錆性や省施工性を特長として多くの用途でご使用いただけます。
特長
連結可能!
製品同士が連結できることにより、製品の追加による延長が可能です。
〈連結手順〉
端部の凹凸を嵌め合わせ、グイっと押し込むと連結できます。
端部の凹凸を嵌め合わせ、グイっと押し込むと連結できます。
DCクリップの仮止め可能!
DCクリップをチャンネルに仮止めすることで、両手がフリーな状態での配管固定作業が可能です。
〈DCクリップ仮止め手順〉
開口部からDCクリップを入れ、手前に引っ張ると仮止めできます。
開口部からDCクリップを入れ、手前に引っ張ると仮止めできます。
錆びない!
樹脂製で錆びないため、防錆目的の塗装やめっきが不要です。
軽い!
1個あたりの質量が50gであり、金属製品の約3分の1と軽量です。
脱落防止機構付き
脱落防止機構により、配管のズレなどによってパイプやクリップが脱落する心配がありません。
バリ取り、端末保護キャップ不要
金属製品を切断時に必要であったバリ取りや端末保護キャップの取り付けが不要です。
屋外使用OK!
耐候性に優れているため、屋外での使用が可能です。
取付方法
①壁面に応じ、プラチャンをアンカーボルト(M10またはW3/8)やコンクリートビス(φ5)などで取付けます。
②DCクリップの両端を持ち、サイズ表記がある面を引き寄せて分割します。
③プラチャンの開口部からDCクリップを入れ、手前に引っ張り仮止めします。
④プラフレキをDCクリップの間にセットします。
⑤2つのクリップを引き寄せるように手できつく締め込んでください。
⑥最後にプラフレキがしっかり固定されていることを確認してください。
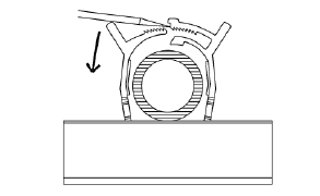
解除方法
DCクリップを解除する際は、図のようにマイナスドライバーなどを利用して、クリップの爪部を押し広げて外します。
プラチャン 本体仕様
PFD、PFS、PFTおよびDCクリップ専用チャンネルになります。
| 品番 | 梱包数(本/袋) | 寸法(mm) | |||||
|---|---|---|---|---|---|---|---|
| グレー | アイボリー | ブラック | L | H | W1 | W2 | |
| PF-D1CH | PF-D1CH-I | PF-D1CH-K | 10 | 100 | 30 | 40 | 20 |
(注)吊り、ラック用途での使用はできません。
許容静荷重
配管一本固定した場合
(配管サイズ:φ16~54)
配管二本固定した場合
(配管サイズ:φ16,22)
CADデータ、仕様書
サポート情報にログインしていただくとCADデータ、仕様書をダウンロードできます。サポート情報
注意事項
- 本製品でのPF管施工は古河電工製DCクリップと組み合わせてご使用ください。
- 許容静荷重はプラチャンとDCクリップを組み合わせた強度です。施工の際は、アンカーボルト、コンクリートビスなどの強度を考慮して使用してください。
- 取付けが確実でないと、DCクリップがずれる可能性があります。
- 本製品は壁面及び天井取付け用のため、吊り、ラック用途での使用はできません。
- 作業はDCクリップ分割部のエッジ等で手を傷つけないよう、手袋を着用してください。
- PF管以外の固定等に使用しないでください。
- 片手でDCクリップを締付けにくい場合は、両手で締付けてください。
- 許容静荷重を上回らないようにしてください。
- PF管の最小曲げ半径(管内径の6倍以上)を守って取付けてください。
- DCクリップが分割部より分離している場合もありますが性能には問題なく取付け可能です。
- 取外す際には、DCクリップの飛散及びPF管の落下にご注意ください。
- 常時50℃以上となるような環境でのご使用はお控えください。
- 強い衝撃(特に低温環境下)が製品に加わると破損する恐れがあるのでご注意ください。又破損した製品は使用しないでください。
- 有機薬品等で製品の性能が劣化する恐れがあるのでご注意ください。また火気を近づけないでください。
- 配管位置の調整時は一度クリップを解除してください。無理に動かすと製品が破損する恐れがあります。
- φ5mmビスを使用し製品取り付け位置を調整する際は、長穴のビスを完全に固定しないでください。
- 製品に乗る、足場にするなど、配管支持以外の荷重がかかった場合、製品が破損する恐れがあります。
- 表面が凸凹した造営物には固定しないでください。製品が破損する恐れがあります。
- 連結して使用する際は、製品ごとにボルトまたはビスで固定してください。
- 工具でDCクリップを締め付ける際は、破損の可能性があるので十分に注意してください。
関連製品
電子ブックはこちら